- saic公司分廠
- 上海自動化儀表一廠
- 上海自動化儀表三廠
- 上海自動化儀表四廠
- 上海自動化儀表五廠
- 上海自動化儀表六廠
- 上海自動化儀表七廠
- 上海自動化儀表九廠
- 上海自動化儀表十一廠
- 上海大華儀表廠
- 上海遠東儀表廠
- 上海轉速儀表廠
- 上海自一船用儀表廠
聯系方式
上海自動化儀表集團有限公司
辦公地址:上海市靜安區汶水路210號
郵政編碼:201615
聯系電話:021-33878577
移動電話:18217128889
網站地址:m.escenter.com.cn
WFT-202 F1(400-1200℃)輻射感溫器
產品名稱:WFT-202 F1(400-1200℃)輻射感溫器
產品型號:WFT-202 F1
所屬分類:上海自動化儀表三廠
產品簡介
WFT-202 F1(400-1200℃)輻射感溫器
產品介紹:
WFT-202輻射感溫器是非接觸式簡易輻射測溫儀表,是根據物體的熱輻射效應原理來測量物體表面溫度的。它接收被測表面的熱輻射能量,轉換成電勢信號,通過電勢信號與物體表面溫度之間的關系來確定溫度值。它適用于冶金、機械、硅酸鹽及化學工業部門中連續測量各種熔爐、高溫窯、鹽浴池等場合的溫度,以及用于其他不適宜裝置熱電偶的場合。
WFT-202輻射感溫器可在10~80℃的環境下使用,在環境溫度超過80℃或空氣介質中含有水蒸氣、煙霧時,可借助于水冷、通風等輔助裝置來降低環境溫度,吹凈測量通道中的煙氣,以減小測量誤差。
WFT-202輻射感溫器為了便于安裝,配有輕型輔助裝置。
主要技術指標
| 測量范圍℃ | 透鏡材料 | 允許基本誤差℃ | 配顯示儀表 | |
| 溫度范圍 | 誤差值 | |||
| 400~2000 | 石英玻璃(分度號F1) | 400~1000 | ±16 | 電子電位差計、數顯儀表、毫伏表 |
| >1000~1200 | ±20 | |||
工作環境溫度:10~80℃
名義距離系數: L/D=20 (在L=1000mm時)
式中:L-被測物體感溫器物鏡間的工作距離
D-被測物體的有效直徑
示值穩定時間:﹤4s。
工作距離:500~2000mm。
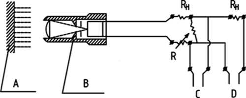
結構與原理
A—被測物體
B—輻射感溫器
C—自動平衡顯示儀表或數顯儀表
D—動圈式顯示儀表
外形尺寸
規格參數
主要技術指標
| 測量范圍℃ | 透鏡材料 | 允許基本誤差℃ | 配顯示儀表 | |
| 溫度范圍 | 誤差值 | |||
| 400~2000 | 石英玻璃(分度號F1) | 400~1000 | ±16 | 電子電位差計、數顯儀表、毫伏表 |
| >1000~1200 | ±20 | |||
工作環境溫度:10~80℃
名義距離系數: L/D=20 (在L=1000mm時)
式中:L-被測物體感溫器物鏡間的工作距離
D-被測物體的有效直徑
示值穩定時間:﹤4s。
工作距離:500~2000mm。
